Aller au contenu

Mécanique (Physique)


j-l

Messages recommandés

Posté(e)

Balançoire

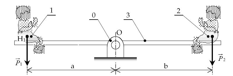
Une balançoire 3 est articulée en O (liaison pivot) sur un socle fixe 0. P1 et P2 représentent les poids

respectifs des deux enfants 1 et 2, appliqués respectivement en H1 et H2.

On souhaite calculer les moments par rapport au point O de P1 et de P2 pour, ensuite, les comparer.

a=200cm et b==1800mm, P1=288N et P2=32daN

1)Calculez les moments par rapport au point O de ces deux forces à l'aide du produit vectoriel.

2)Calculez les moments par rapport au point O de ces deux forces à l'aide de la méthode du "bras de levier".

3)Quelle est la méthode de calcul que vous préconisez? Justifiez votre réponse.

4Comparez ces deux moments et concluez.

post-58989-0-22396200-1329652370_thumb.j <--Voilà un schéma pour représenter la situation

Merci :)

post-58989-0-22396200-1329652370_thumb.j

post-58989-0-22396200-1329652370_thumb.j

post-58989-0-22396200-1329652370_thumb.j

post-58989-0-22396200-1329652370_thumb.j

post-58989-0-22396200-1329652370_thumb.j

post-58989-0-22396200-1329652370_thumb.j

post-58989-0-22396200-1329652370_thumb.j

post-58989-0-22396200-1329652370_thumb.j

post-58989-0-22396200-1329652370_thumb.j

post-58989-0-22396200-1329652370_thumb.j

post-58989-0-22396200-1329652370_thumb.j

Archivé

Ce sujet est désormais archivé et ne peut plus recevoir de nouvelles réponses.

×
×
  • Créer...
spam filtering
spam filtering